- Architektenteam Manor Biel & Gebert Architekten Gm
Manor Store AG
Performance énergétique et qualité architecturale sont indissociables dans le nouveau bâtiment Manor construit à Bienne, Suisse. Le bâtiment, qui abrite le grand magasin Manor ainsi que des bureaux et des logements, devait être à la hauteur de son emplacement prestigieux sur la Place Centrale.
Le bâtiment Manor, qui s’étend du Quai du Bas et de la maison de retraite médicalisée Centre Rochat d’un côté, jusque la rue Plänkestrasse de l’autre côté, en passant par la rue de Nidau et la zone piétonne, se fond dans son environnement grâce à deux façades entièrement différentes. Sur le Quai du Bas, les architectes ont conçu une façade proche du style des façades voisines : un mélange savamment proportionné de verre et de pierre naturelle, avec un soupçon de modernité architecturale, pour obtenir un ensemble équilibré.

La façade en verre teinté reflète les bâtiments alentours
De l’autre côté de la place, avec la zone piétonne et les rues latérales, la façade complètement habillée de verre teinté modifie la dynamique de la ville. Les mystérieux renfoncements de l’étage supérieur s’expliquent par la multitude de fonctions assurées par le bâtiment. Grand magasin, bureaux, appartements, résidences seniors, cour aménagée par la commune et parking souterrain pour 205 voitures et 235 motos et vélos forment un ensemble que l’ancienne structure ne permettait même pas d’imaginer. L’enveloppe du bâtiment se compose de panneaux en béton habillés de verre, qui donnent une impression de solidité, et de bandes de verre horizontales. En surimpression se dessinent les vastes vitrines des boutiques au rez-de-chaussée, les fenêtres plus modestes du grand magasin aux étages supérieurs et les petites fenêtres à petits bois des bureaux et des habitations. La façade en verre teinté reflète les bâtiments alentours, mais les visiteurs du grand magasin peuvent regarder à l’extérieur pendant qu’ils parcourent les allées et les rayons, ce qui est inhabituel car la vue extérieure est généralement obstruée dans les grands magasins pour ne pas distraire la clientèle.
ÉLÉGANCE
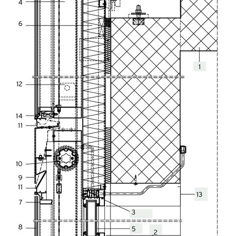
Les profilés de la façade double peau sont anodisés noir et contribuent ainsi à l’homogénéité et l’élégance de l’enveloppe. Les panneaux de verre sont composés d’un panneau extérieur simple de 12 mm d’épaisseur, d’une lame d’air de 184 mm d’épaisseur avec rideaux de tissu et d’un double vitrage interne. Les joints en caoutchouc ont été spécialement conçus pour ces panneaux. Les panneaux en béton sont recouverts d’une couche isolante plutôt que d’un triple vitrage, elle-même recouverte d’une couche de protection de 22 mm d’épaisseur en Peraluman noir anodisé, un alliage d’aluminium extrêmement résistant à la corrosion. Les mêmes panneaux que les panneaux extérieurs simples en verre utilisés dans la façade entièrement vitrée sont placés à intervalles de 185 mm environ.
CONCEPT À FAIBLE CONSOMMATION ÉNERGÉTIQUE
Le bâtiment affiche de très bonnes performances énergétiques grâce aux propriétés isolantes exceptionnelles du système CS 86-HI utilisé sur la façade avec brise-soleil intégré. Le bâtiment Manor utilise les eaux souterraines pour refroidir le bâtiment pendant la majeure partie de l’année – les principales sources d’accumulation de chaleur étant la lumière artificielle et la chaleur humaine – et pour la récupération de chaleur pendant les deux mois les plus froids de l’hiver. Cela signifie qu’aucun combustible fossile n’est nécessaire à son fonctionnement. Le nouveau bâtiment Manor est le nouveau fer de lance architectural de la firme, en parfaite harmonie avec la devise de Manor, « Donnons du style à la vie ». Qui plus est, il prouve que les concepts à faible consommation énergétique peuvent s’intégrer dans l’architecture contemporaine sans sacrifier la moindre chose à l’élégance du bâtiment. Cette architecture symbolise le mariage entre transparence et performance énergétique, célébré avec la bénédiction des systèmes Reynaers.

Système CS 86-HI pour façade; coupe verticale avec stores intégrés
Project solution
- Développement spécial CS 86-HI pour solution de façade
- 510 éléments
- Fixé sur une structure en béton armé soutenue par des solid piles
- Special attention for the non-supported overhanging building corners
- On top, the air space is ventilated through a horizontal continuous opening in the roof edges. In this way both overheating and condensation are avoided
- Visible aluminium parts are anodized in Colinal black
Dimension intérieure (cadre):
- Vitrage à double isolation
- Uf = 1.8 W/m²K
Air space:
- 170 mm wide with integrated woven sunscreening, motorized via a building management system
Outer scale (vent):
- Glazing: Structural glazed 12 mm, transparent
Dimensions de l'élément :
- Largeur: min. 1000 mm, max. 2000 mm
- Hauteur: min. 3000 mm, max. 4500 mm
- Profondeur de montage: 250 mm
- Entre 400 et 800 kg par élément
Les acteurs du projet
Architect
- Architektenteam Manor Biel & Gebert Architekten Gm
Fabricator
- Hartmann & Co. AG
Photographe
- Hannes Henz, Zürich
Autre partie prenante
- Pensionskasse des Bundes PUBLICA (Investors)
- Manor AG, Basel (General contractors)
- Ursula Baus (Authors)